众力资讯网
琥珀消研社的文章
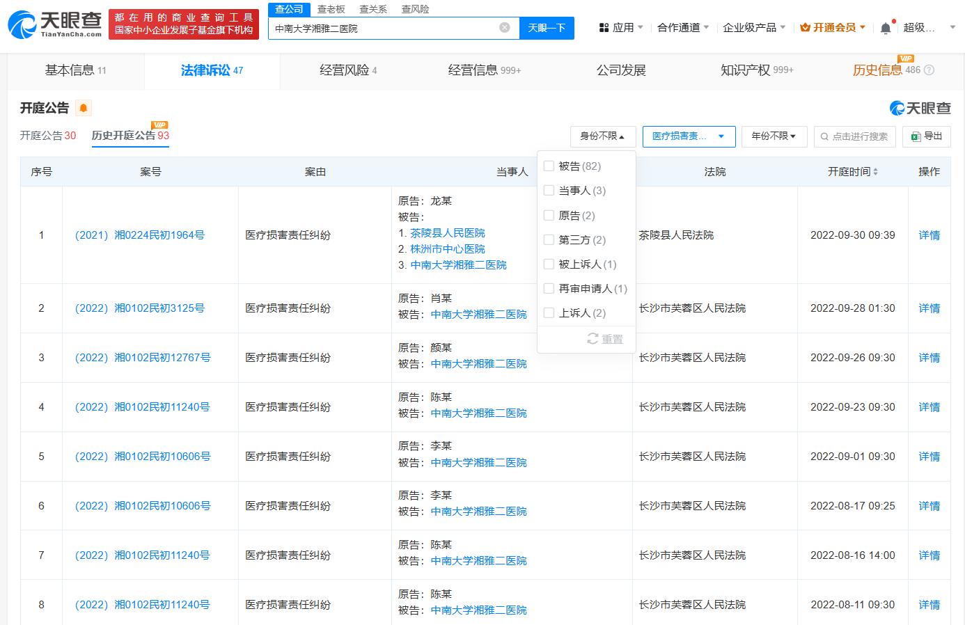
湘雅二医院涉多起医疗损害责任纠纷
2025-06-12 20:24
琥珀消研社
湘雅二医院涉多起医疗损害责任纠纷
#宇树科技、杭州数据集团等成立具身智能中试基地科技公司# 注册资本1亿元
2025-05-29 15:53
琥珀消研社
#宇树科技、杭州数据集团等成立具身智能中试基地科技公司# 注册资本1亿元
这家中国公司真牛,又扇了老美俩巴掌!
2024-10-11 16:44
琥珀消研社
这家中国公司真牛,又扇了老美俩巴掌!
重磅利好 存量房贷利率下调
2024-09-24 10:44
琥珀消研社
重磅利好 存量房贷利率下调
华为三折叠一拆,苹果脸被打肿了!
2024-09-23 20:26
琥珀消研社
华为三折叠一拆,苹果脸被打肿了!
感谢老美苦苦相逼,逼出华为鸿蒙PC
2024-09-20 18:25
琥珀消研社
感谢老美苦苦相逼,逼出华为鸿蒙PC
华为大获全胜 老美正在颤抖
2024-09-17 09:36
琥珀消研社
华为大获全胜 老美正在颤抖
苹果16这四大创新吊打华为三折叠手机
2024-09-17 08:42
琥珀消研社
苹果16这四大创新吊打华为三折叠手机
华为三折叠 牛在哪里?
2024-09-12 21:48
琥珀消研社
华为三折叠 牛在哪里?
太惨了!许家印前妻每个月只能花18万
2024-09-12 20:36
琥珀消研社
太惨了!许家印前妻每个月只能花18万
别再说华为 遥遥领先了
2024-09-11 18:44
琥珀消研社
别再说华为 遥遥领先了
苹果真牛,把黄牛干没了
2024-09-11 17:52
琥珀消研社
苹果真牛,把黄牛干没了
复仇时刻 华为的狙击还没结束
2024-09-10 17:13
琥珀消研社
复仇时刻 华为的狙击还没结束
苹果重新定义“最先进”华为赢麻了
2024-09-10 16:39
琥珀消研社
苹果重新定义“最先进”华为赢麻了
击败苹果,就在今年秋天
2024-09-09 21:49
琥珀消研社
击败苹果,就在今年秋天
第一页
作者信息
琥珀消研社
扎根新消费,探索新商业,研究消费者、观察产业链。
分类: 财经
热门分类
推荐
热榜
军事
NBA
体育
社会
明星八卦
娱乐
财经
科技
汽车
历史
国际
游戏
动漫
公益
搞笑
商业
互联网
数码
国际足球
房产
家居
时尚
科学探索
职场
育儿
股票
教育
影视
情感
热点
中国军情
武器
中国南海
中国足球
亚洲杯
科比
综合体育
CBA
投资
楼市
大咖秀
外汇
创业
风口
SUV
豪车
概念车
优惠
新能源
美国
欧洲
朝日韩
俄罗斯
孕期
街拍
恋爱攻略
婚姻
正能量