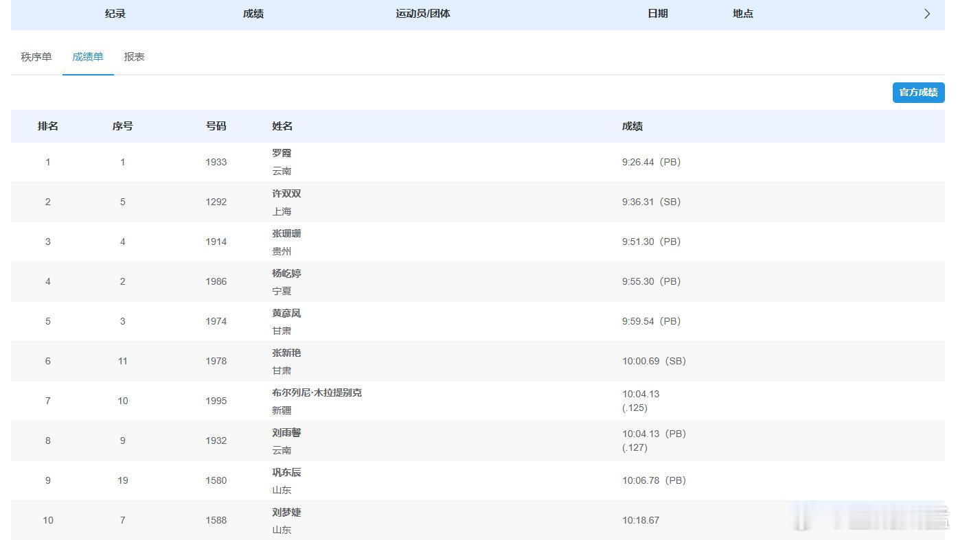
纯省队选手跑出女子3000米障碍四年来中国最佳战绩 狂甩国家队资深主力十秒差距 !11月16日晚,全运田径大项结束女子3000米障碍决赛,上届全运会季军、云南选手罗霞发挥极其出色,她以9分26秒44的个人最佳发挥获得冠军。该成绩创造四年来中国女子3000米障碍最好成绩,历史总排名第三位,比张新艳在2021年创造的全国纪录就慢了六秒左右。罗霞今年在全国锦标赛上跑出9分29秒79的高光战绩,已经预示着她在全运会上具备爆发的实力。在上海名将许双双的冲击下,罗霞这场比赛发挥出超强水准。3000米障碍项目上,许双双两次参加奥运会,两次参加世锦赛,国家队资深主力。而罗霞就是纯省队选手,没有国际赛经验。比赛还剩倒数三圈时,罗霞摆脱许双双追赶,开始独自领先,并且不断扩大领先。比赛还剩一圈时,许双双已经差距有2、30米。但罗霞还在加速,最后把许双双甩开十秒左右差距。许双双以9分36秒31的赛季最佳拿到亚军,贵州选手张珊珊9分51秒30的个人最佳拿到季军。





评论列表