众力资讯网

铭赛看娱乐的文章

被王栎鑫演唱会南京场的福利刷屏啦!京东新品联合华为Pura 90系列这次真的走心

被王栎鑫演唱会南京场的福利刷屏啦!京东新品联合华为Pura 90系列这次真的走心

被王栎鑫演唱会南京场的福利刷屏啦!京东新品联合华为Pura 90系列这次真的走心
肖战 尚界肖战粉丝你们在哪发财💰的,这购买力太可 怕了吧,这不是快销品这是单价

肖战 尚界肖战粉丝你们在哪发财💰的,这购买力太可 怕了吧,这不是快销品这是单价

肖战 尚界肖战粉丝你们在哪发财💰的,这购买力太可 怕了吧,这不是快销品这是单价
肖战上世趋比我上市区还勤,肖战粉丝晒尚界新车小订订单比我定外卖还轻松,刷不到尽头

肖战上世趋比我上市区还勤,肖战粉丝晒尚界新车小订订单比我定外卖还轻松,刷不到尽头

肖战上世趋比我上市区还勤,肖战粉丝晒尚界新车小订订单比我定外卖还轻松,刷不到尽头
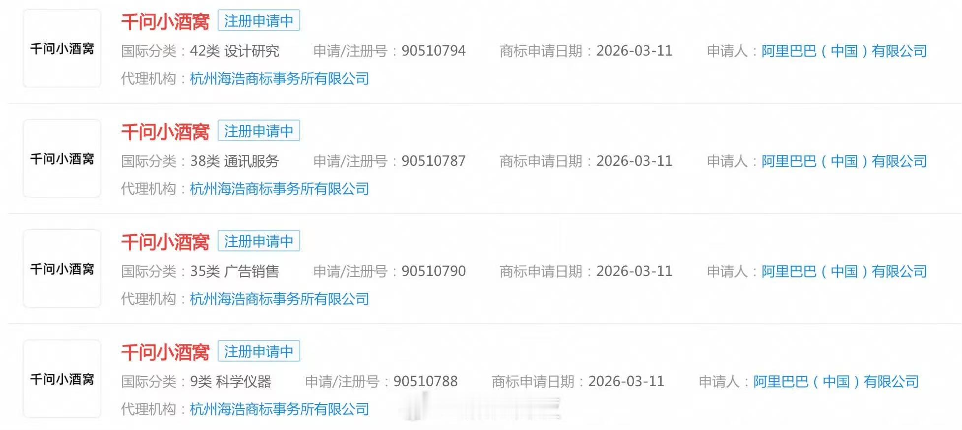
阿里申请千问小酒窝商标阿里你又要搞什么大动作了,不过这个好,单Ai系统会显得冷冰

阿里申请千问小酒窝商标阿里你又要搞什么大动作了,不过这个好,单Ai系统会显得冷冰

阿里申请千问小酒窝商标阿里你又要搞什么大动作了,不过这个好,单Ai系统会显得冷冰
嗯哼~~~肖战 尚界

嗯哼~~~肖战 尚界

嗯哼~~~肖战 尚界
我笑出了声,华为应该也笑出了声,我在为全内娱都在追肖战而笑,华为因为这个代言人请

我笑出了声,华为应该也笑出了声,我在为全内娱都在追肖战而笑,华为因为这个代言人请

我笑出了声,华为应该也笑出了声,我在为全内娱都在追肖战而笑,华为因为这个代言人请

别装了,你们内娱就是都在追肖战,当年《玉骨遥》因为yi情期间隔离行程冲突问题传要

别装了,你们内娱就是都在追肖战,当年《玉骨遥》因为yi情期间隔离行程冲突问题传要
都说了你们全内娱全在追一个星啊,从肖战传尚界代言人开始,华为这五届就都跑出来了,

都说了你们全内娱全在追一个星啊,从肖战传尚界代言人开始,华为这五届就都跑出来了,

都说了你们全内娱全在追一个星啊,从肖战传尚界代言人开始,华为这五届就都跑出来了,
肖战 尚界空降,最高,无需多言

肖战 尚界空降,最高,无需多言

肖战 尚界空降,最高,无需多言
檀健次新商务狮王牙膏预热,又一个国民大品牌get,我们4月22日见

檀健次新商务狮王牙膏预热,又一个国民大品牌get,我们4月22日见

檀健次新商务狮王牙膏预热,又一个国民大品牌get,我们4月22日见
你别说,《有戏》这几次物料都挺不错,真的有点超预期了,吴宣仪音线比101时期更好

你别说,《有戏》这几次物料都挺不错,真的有点超预期了,吴宣仪音线比101时期更好

你别说,《有戏》这几次物料都挺不错,真的有点超预期了,吴宣仪音线比101时期更好

华为老总亲自发博官宣预热的代言人预热期品牌直接安排亚洲第一屏地广品牌首位空降代言

华为老总亲自发博官宣预热的代言人预热期品牌直接安排亚洲第一屏地广品牌首位空降代言
华为老总余承东亲自发博官宣预热肖战代言尚界汽车,空降就是最高title!【品牌首

华为老总余承东亲自发博官宣预热肖战代言尚界汽车,空降就是最高title!【品牌首

华为老总余承东亲自发博官宣预热肖战代言尚界汽车,空降就是最高title!【品牌首

我不行,我不可能对Ai演员产生真情实感,看小说看动漫玩游戏都可以喜欢这些娱乐方式

我不行,我不可能对Ai演员产生真情实感,看小说看动漫玩游戏都可以喜欢这些娱乐方式
肖战车代明天预热,不需要从底层title升起不需要站台,空降就是最高出道10年爆

肖战车代明天预热,不需要从底层title升起不需要站台,空降就是最高出道10年爆

肖战车代明天预热,不需要从底层title升起不需要站台,空降就是最高出道10年爆
有的兄弟

有的兄弟

有的兄弟
陈哲远方辟谣ai入库今天爱奇艺大剧片单都没有他大会艺人宣传视频没有他甚至从来没有

陈哲远方辟谣ai入库今天爱奇艺大剧片单都没有他大会艺人宣传视频没有他甚至从来没有

陈哲远方辟谣ai入库今天爱奇艺大剧片单都没有他大会艺人宣传视频没有他甚至从来没有
果果姐姐别生气啦,虽然你们没有大男主单人海报单人物料,虽然爱奇艺官博前排没有你们

果果姐姐别生气啦,虽然你们没有大男主单人海报单人物料,虽然爱奇艺官博前排没有你们

果果姐姐别生气啦,虽然你们没有大男主单人海报单人物料,虽然爱奇艺官博前排没有你们
纪录一下,肖战粉丝说全部拿下那就是全部拿下,全部哦2026爱奇艺世界大会 小城良

纪录一下,肖战粉丝说全部拿下那就是全部拿下,全部哦2026爱奇艺世界大会 小城良

纪录一下,肖战粉丝说全部拿下那就是全部拿下,全部哦2026爱奇艺世界大会 小城良
输了就这样破防甩锅中

输了就这样破防甩锅中

输了就这样破防甩锅中