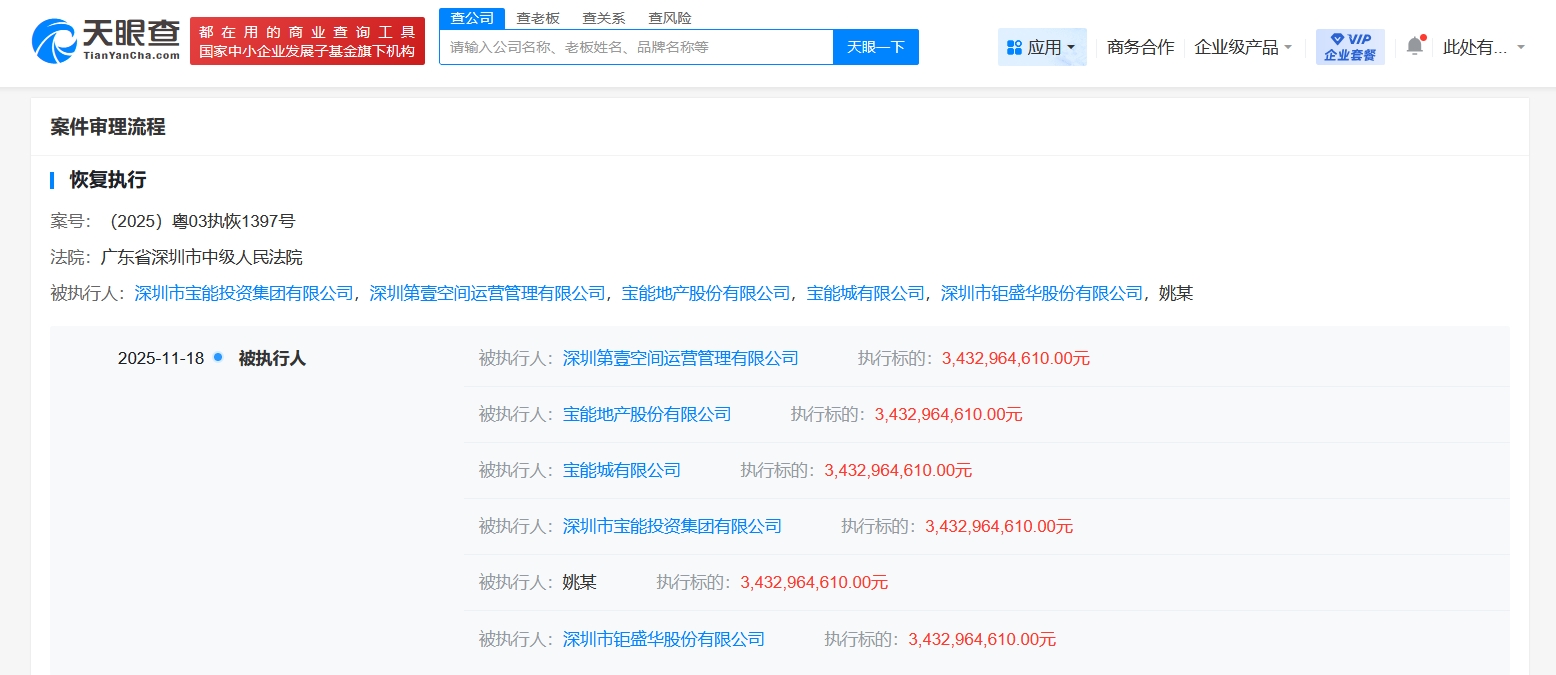
天眼查App显示,近日,深圳市宝能投资集团有限公司新增3则恢复执行信息,执行标的合计45亿余元,被执行人还包括姚振华、宝能地产股份有限公司等,执行法院为广东省深圳市中级人民法院。
天眼风险信息显示,深圳市宝能投资集团有限公司现存50条被执行人信息,被执行总金额超540亿元,此外,该公司还存在多条限制消费令、失信被执行人(老赖)及终本案件信息。


天眼查App显示,近日,深圳市宝能投资集团有限公司新增3则恢复执行信息,执行标的合计45亿余元,被执行人还包括姚振华、宝能地产股份有限公司等,执行法院为广东省深圳市中级人民法院。
天眼风险信息显示,深圳市宝能投资集团有限公司现存50条被执行人信息,被执行总金额超540亿元,此外,该公司还存在多条限制消费令、失信被执行人(老赖)及终本案件信息。

