时隔九年,莱州诚源盐化有限公司(简称“诚源盐化”)卷土重来,剑指华海财产保险股份有限公司(简称“华海保险”)第一大股东席位。该公司曾为华海保险创始股东之一,九年前清仓全部股权退出。
记者了解到,华海保险的股权治理乱象丛生。截至目前,该公司第一大股东和并列第二大股东持有的全部股权已被司法冻结,第一大股东和第三大股东的持股状态为“质押”。该公司至少4.1亿股股份处于“异常”状态,占该公司股份总数的比例已超过三分之一。此前,该公司被监管机关责令限期清退两家违规股东,该公司董事长赵某鸣被处以警告并罚款10万元处罚。
这家注册地位于三线城市烟台、官方宣称特色定位为“海洋保险”的险企,其主营业务却高度依赖车险,车险业务在全部保费中占比接近九成。此外,该公司的保费收入和净利润持续多年陷入停滞不前状态。值得警惕的是,该公司今年第三季度的综合成本率已飙升至108.16%,在承保亏损的路上越走越远。
两家股东拟清仓退出
12月15日,华海保险发布公告称,该公司两家股东烟台诚泰投资有限公司(简称“烟台诚泰”)和山东滨化投资有限公司(简称“山东滨化”)拟将持有的合计15%股权转让给诚源盐化。转让完成后,诚源盐化将持有华海保险15%的股权,位居该公司并列第一大股东席位。
公告披露,上述两家股东本次股权转让为清仓式退出,拟转让其持有的全部股权。烟台诚泰目前为华海保险并列第二大股东,持股数量1.2亿股,持股比例为10%。山东滨化目前为华海保险并列第四大股东,持股数量6000万股,持股比例为5%。
据了解,本次股权转让的受让方诚源盐化目前持有华海保险的股份数量为0,但该公司却是华海保险的创始股东之一。据华海保险公告披露,2016年7月8日,该公司召开临时股东大会,经全体股东审议同意,诚源盐化将其持有的华海保险1.2亿股股份,以原始股价(每股1元)全部转让给烟台诚泰。
上述转让完成后,诚源盐化不再持有华海保险股份。而烟台诚泰则通过受让华海保险1.2亿股股份,跻身华海保险并列第一大股东席位。值得注意的是,诚源盐化的注册地为山东省莱州市土山镇,而烟台诚泰的注册地为山东省莱州市土山镇府前街南。
公告披露,诚源盐化的实际控制人与烟台诚泰的实际控制人存在关联关系,为一致行动人。该公司与华海保险的其他股东之间不存在关联关系,也不存在股权代持或其他安排。

图片来源:企查查
提企查查提供的信息显示,烟台诚泰的实际控制人为邱某琳,持有该公司98.35%的股份。邱某琳同时也是莱州市天源盐业有限责任公司的实际控制人,持股比例高达90%。而诚源盐化又是莱州市天源盐业有限责任公司的全资子公司,因此,诚源盐化的实际控制人也为邱某琳。由此可见,诚源盐化和烟台诚泰的实际控制人为同一人。

图片来源:企查查
然而,诚源盐化九年前清仓转让华海保险股权的那场临时股东大会却是虚假的,实际上并未召开。2020年12月份,原中国银保监会公布的行政处罚决定书显示,“华海保险在2016年7月8日股东大会未召开的情况下,在官方网站披露了虚假的股东大会会议情况。”
三家股东持股状态“异常”
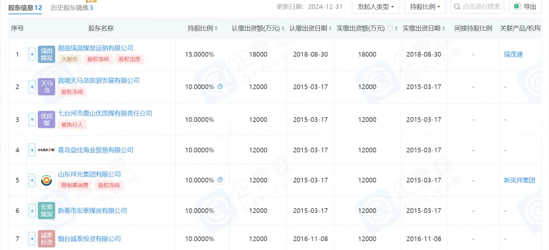
截至目前,华海保险第一大股东那曲瑞昌煤炭运销有限公司(简称“瑞昌煤炭”)持有的该公司全部股权已被司法冻结。
12月5日,瑞茂通(600180.SH)发布公告称,由于部分债务逾期,该公司及旗下子公司部分银行账户被冻结。截至本公告披露日,该公司旗下子公司持有的华海保险全部股权被司法冻结(持股比例为15%)。
企查查提供的信息显示,瑞昌煤炭是深圳前海瑞茂通供应链平台服务有限公司的全资子公司,后者又是江苏晋和电力燃料有限公司的全资子公司,而江苏晋和电力燃料有限公司又是瑞茂通的全资子公司。截至目前,瑞昌煤炭位居华海保险第一大股东席位,持股比例15%,认缴出资额和实缴出资额均为1.8亿元。该笔股权目前已被郑州市中级人民法院司法冻结,冻结日期自2025年12月3日至2028年12月2日。

图片来源:企查查
根据监管规定,保险公司的战略类股东(持股15%以上)应当具备以下条件“具有持续出资能力,最近3个会计年度连续盈利;净资产不低于10亿元;权益性投资余额不得超过净资产。”
此外,华海保险并列第二大股东莒南天马岛旅游发展有限公司(简称“天马岛旅游”)持有的该公司全部股权也已被司法冻结。企查查显示,天马岛旅游为华海保险第二大股东,持股比例10%,认缴出资额和实缴出资额均为1.2亿元。今年6月份,天马岛旅游持有的华海保险全部股权被临沂市莒南县人民法院冻结。
根据监管规定,保险公司的财务Ⅱ类股东(持股5%以上)应当具备以下条件“信誉良好,投资行为稳健,核心主业突出;具有持续出资能力,最近2个会计年度连续盈利;具有较强的资金实力,净资产不低于2亿元。”

图片来源:华海保险2025年第三季度偿付能力报告摘要
不仅如此,据华海保险2025年第三季度偿付能力报告摘要披露,该公司第三大股东龙口嘉元东盛热电有限公司持有的1.1亿股股份已被质押。另外,该公司第一大股东瑞昌煤炭持有的1.8亿股股份也处于质押状态。
并列第二大股东被立案执行

图片来源:企查查
除上述三家股东持股状态“异常”外,华海保险还有一家股东被法院列入被执行人。企查查提供的信息显示,华海保险并列第二大股东七台河市鹿山优质煤有限责任公司(简称“鹿山优质煤”)本月三次被立案执行,被执行总金额44.44 万元。该公司历史被执行人信息多达62条,被执行总金额722.56 万元。
记者了解到,鹿山优质煤四年前曾计划清仓退出华海保险。华海保险2021年12月15日发布的信息披露公告显示,鹿山优质煤拟将其持有的华海保险1.2亿股股权转让给瑞昌煤炭,同时青岛益佳海业贸易有限公司拟将其持有的华海保险9600万股股权转让给瑞昌煤炭,转让完成后瑞昌煤炭的持股比例将上升至33%。
但上述股权转让并未能实现。截至目前,鹿山优质煤仍然持有华海保险1.2亿股股权,持股比例为10%,位居华海保险并列第二大股东席位。
据官网介绍,华海保险2014年3月获监管部门批准筹建,2014年12月正式开业。该公司注册地位于烟台市,注册资本12亿元,主要股东是沿海地区和海洋领域实力雄厚的实体企业。该公司目前已开设山东、青岛、河南3家省级分公司,22家地市级中心支公司,56家县区级支公司。

图片来源:企查查
然而,目前来看,华海保险的第一大股东瑞昌煤炭和并列第二大股东鹿山优质煤、新泰市宏泰煤炭有限公司、天马岛旅游、祥光集团、烟台诚泰、青岛益佳海业贸易有限公司(国标行业为五金产品批发)7家企业并没有任何一家企业属于海洋领域实体企业,而是有三家煤炭产销相关企业,占比接近半数。
此前,2021年5月,华海保险两家股东被监管部门列入第三批重大违法违规股东名单。该公司股东青岛神州万向文化传播有限公司、青岛乐保互联科技有限公司被查获“存在隐瞒关联关系”、“提供虚假材料”的违法违规行为。东窗事发后,监管机关要求华海保险清退上述两家违规股东,并在规定时间内引入合规股东。
2020年12月,因在增资申请中存在股东隐瞒关联关系、提供虚假材料的违法违规行为,华海保险被监管机关处以罚款50万元处罚,该公司董事长赵某鸣被处以警告并罚款10万元处罚。二者受到的上述处罚均为保险公司“报送虚假材料”类违法行为罚款金额的上限,属于顶格罚款。
综合成本率飙升至108%
业绩方面,今年前三季度,华海保险实现保险业务收入16.85亿元,实现净利润0.32亿元,实现基本每股收益0.026元,综合成本率为104.50%。
从业务结构来看,华海保险的主要业务为车险。该公司今年前三季度的车险签单保费为14.06亿元,在全部签单保费中占比高达87.70%,这与该公司宣称的“海洋保险”特色定位极不相符。
从效益类指标来看,华海保险今年前三季度的综合成本率为104.50%,其中,综合费用率为40.92%,综合赔付率为63.58%。公开资料显示,综合成本率是衡量保险公司承保业务盈利能力的关键指标,低于100%表示承保盈利,高于100%表示承保亏损。由此可见,华海保险承保业务是亏损的,根据该公司今年前三季度的签单保费16.03亿元计算,该公司的承保业务亏损额约为7213.96万元。
值得注意的是,华海保险今年第三季度的综合成本率已飙升至108.16%,其中,综合费用率为41.06%,综合赔付率为67.10%。该公司综合成本率跟同期行业均值101.58%相比明显处于高位。
此外,华海保险的保费收入和净利润均陷入停滞不前状态。早在七年前,该公司的保费收入就迈上20亿元平台,随后却一直在20亿元~21亿元附近徘徊,始终未能突破22亿元。
数据显示,2018年~2024年,华海保险的保费收入分别为20.52亿元、21.27亿元、20.24亿元、21.07亿元、21.63亿元、21.58亿元、21.72亿元。同期,该公司净利润分别为0.15亿元、0.23亿元、0.05亿元、0.02亿元、0.13亿元、0.03亿元、0.03亿元。
据华海保险2025年第三季度偿付能力报告摘要披露,该公司近三年的平均投资收益率为0.99%,近三年的平均综合投资收益率为1.15%。该公司投资收益率较行业平均水平差距较大,此前还曾曝出2亿元投资违约事件。
据华海保险2023年11月份发布的关于重大投资损失的信息披露公告显示,该公司2笔金额共计2亿元的投资到期后偿债主体未能按期偿付公司本金,构成违约。其中,华海保险投资1亿元的合众-北大资源青岛商业不动产债权投资计划,该投资项目已累计计提减值准备6800万元;华海保险投资1亿元的长安宁-大连星海湾集合资金信托计划,该投资项目已累计计提减值准备7500万元,华海保险仍在与偿债主体沟通,争取早日完成资产处置工作。
记者:张嘉怡
财经研究员:于文