
9月24日,拥有超过6500万粉丝的教育博主张雪峰,其在微博、抖音、小红书、B站等多个平台的个人主账号,均被禁止关注。
平台页面挂出的提示是“违反相关法律法规或《社区公约》”,其工作室的回应则言简意赅——“正在反省”。团队后续向媒体透露,事起于直播中的不当言论遭人举报。
尽管其公司的矩阵账号仍在正常直播卖货,但这次针对其个人IP的精准限制,无疑是一个强烈的信号。
这位凭借一系列言论被千万普通家庭奉为人生导师的争议人物,其狂飙突进的网红之路,第一次撞上了坚实的墙。
作者 | 方远
编辑 | 小雨
从“考研相声”到“网红导师”张雪峰的走红,并非偶然。
在成为高考志愿规划第一人之前,他最早的身份是一名考研辅导讲师。
本名张子彪的他,毕业于郑州大学给排水工程专业,一个与教育、网红都相去甚远的领域。
张雪峰在海天考研、文都考研等机构任职期间,就已凭借其独特的相声式教学风格在学生中广受欢迎。他能将枯燥的考研信息,用段子和风趣幽默的语言串联起来,这种能力让他在一众老师中脱颖而出。
真正的破圈发生在2016年,一则《七分钟解读34所985高校》的视频在网络上疯传,视频中,他语速飞快、金句频出,让普通人第一次发现,原来解读高校可以如此有趣。

此后,张雪峰精准地找到了通往大众视野的流量密码。他的一系列标志性言论,如同投向平静湖面的石子,不断激起巨大的舆论涟漪。
当有家长咨询“孩子非要报新闻学”时,他脱口而出:“我一定把他打晕,然后给他报一个别的。”这句话精准地引爆了社会关于文科就业难的集体情绪。
随后,“文科都是服务业”、“所有以管理结尾的专业,都是服务业”、“别光想着去大城市闯,小城市的稳定更实在”等观点,持续巩固着他的人设。
他撕掉了高校宣传中温情脉脉的面纱,用赤裸裸的就业率、薪资水平和行业前景来重新定义“好专业”与“坏专业”。
在无数信息闭塞、对未来充满迷茫的普通家庭眼中,张雪峰的直白和功利,成了最稀缺的“真话”。
他成功地将自己塑造成了一个为草根代言、敢说真话的人生导师和互联网嘴替,并以此积累了千万级别的粉丝。
张雪峰的变现之路当个人IP的价值积累到顶点,商业化便成为顺理成章的选择。
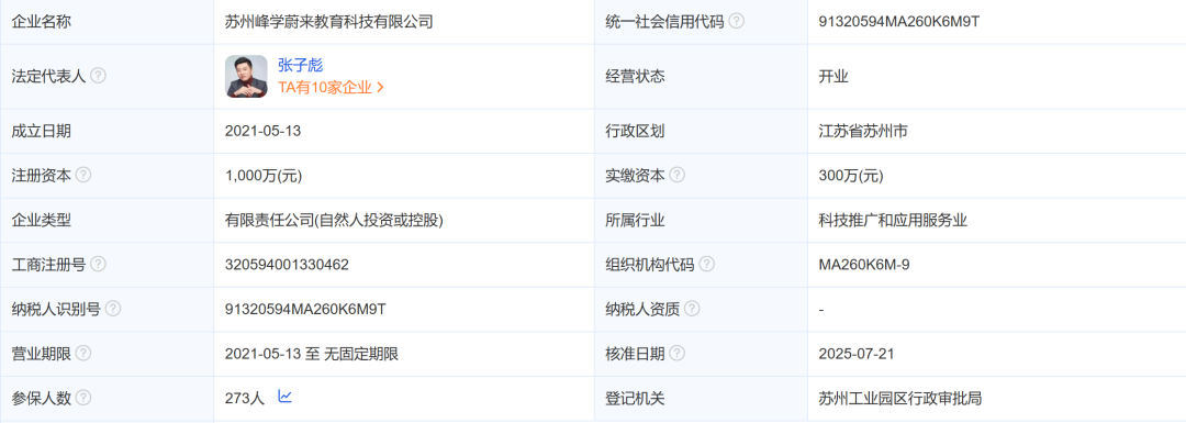
2021年,张雪峰离开了曾深度绑定的上市公司研途教育,南下苏州,创立了属于自己的公司——苏州峰学蔚来教育科技有限公司。

天眼查信息显示,张雪峰在这家公司中占据绝对控股地位,这标志着其个人IP的独立商业化运作正式开启。
“峰学蔚来”的核心商业逻辑,是将社会中普遍存在的升学迷茫与就业焦虑,转化为一套清晰、昂贵但看似有效的路径规划服务。
其核心变现产品,正是近年来争议巨大的高考志愿填报服务。
据媒体报道,其服务分为不同价位的套餐,例如2025届的“梦想卡”售价12999元,“圆梦卡”售价则高达18999元。
尽管价格不菲,但市场需求异常火爆,2万个名额往往在数小时内便被抢购一空。
除了高价的一对一咨询,其公司矩阵还包括相对低价的App会员、系列录播课程、图书出版等业务。这构成了一个从公域引流到私域转化的完整商业闭环。
张雪峰本人在各大社交平台的争议性言论,本质上是成本最低、效率最高的获客手段,它们如同一个巨大的过滤器,精准地筛选出那些对未来最为焦虑、付费意愿最强的目标客户。
“我这不是在贩卖焦虑,我是在解决焦虑。”张雪峰曾如此为其商业模式辩护。
从商业角度看,他确实敏锐地捕捉到了一个巨大的市场空白,并提供了一套看似有效的解决方案。
实用主义的回归张雪峰这门成功的生意,并非诞生于真空之中。
它是一面镜子,清晰地照见了我们这个时代正在变化的教育观念。
近年来,随着高等教育的普及化和就业市场的结构性调整,社会对人才的需求变得更加具体和明确。
根据国家统计局的数据,每年有超过千万的大学毕业生进入社会,这使得就业市场的竞争日益激烈。
在这样的背景下,大众对于高等教育的期待,正发生着微妙而深刻的转变。
对于许多普通家庭而言,四年的大学教育是一笔需要被审慎规划的家庭投资。他们更加关注专业选择与未来职业发展的直接关联,也更倾向于从投资回报的视角来评估教育的价值。

张雪峰的广受欢迎,正是这种社会心态的集中体现。
他并非在创造一种新的观念,而是在迎合一种已经存在的、追求务实与确定性的广泛需求,并将其商业化。
他之所以被许多人视为导师,是因为他提供了一套清晰、量化的路径选择,回应了时代对“学以致用”的新注解。
这种以就业为强导向的趋势,也引发了更深层次的社会讨论。
当大量人才涌向短期回报率更高的应用型专业时,如何平衡社会对基础学科、人文学科等领域的人才需求,成为了一个值得持续关注的议题。
个人兴趣的发展与社会现实需求之间的张力,也由此变得更加突出。
张雪峰的出现,只是将这道议题以一种极具争议性的方式,摆在了公众面前。
而当平台的限制突如其来,这位在争议中一路狂飙的网红导师,其前路也因此变得更加扑朔迷离。
评论列表