[导读]云深处科技宣布完成超5亿元C轮融资,创始人透露2025年业绩快速增长
中国基金报记者邱德坤
12月9日,杭州云深处科技股份有限公司(以下简称云深处科技)宣布完成超5亿元C轮融资,由招银国际和华夏基金联合领投,中国电信、中国联通旗下基金参与战略投资。

云深处科技是“杭州六小龙”之一,并且在近期完成股改。云深处科技创始人兼CEO朱秋国表示:“今年是云深处科技快速发展的一年,业绩实现快速增长。”
云深处科技融资速度加快
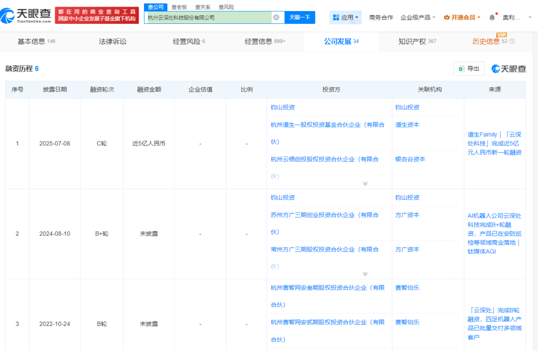
天眼查显示,云深处科技自2017年11月29日成立至今,已经完成多轮融资,并且自2024年开始融资速度不断加快。
2024年8月10日、2025年7月8日、2025年12月9日,云深处科技分别完成了一轮融资,其中最近两次融资的间隔为5个月。

据悉,云深处科技通过此次超5亿元的C轮融资,将为其技术研发、扩大产能及市场拓展提供资金保障。
云深处科技创始人兼CEO朱秋国表示,公司最新一轮融资将用于引进更多优秀人才,以及继续加大研发投入,特别是加强在四足机器人及人形机器人领域的研发。
同时,云深处科技通过最新一轮融资,将与具备产业属性的投资方深度绑定,构建起“技术-产业-场景”协同发展的全新生态。
云深处科技完成的超过5亿元C轮融资,由云晖资本、中芯聚源、浙大基金会、首程控股等多家机构跟投,达晨财智、前海方舟、央视融媒体基金、北京机器人产业发展投资基金和华映资本等老股东继续加持。
在云深处科技看来,其通过此次超5亿元C轮融资,将推动具身智能机器人在千行百业的商业化与规模化落地,实现产业资源与技术创新的深度融合,加速技术成果向实际生产力的转化。
公开资料显示,云深处科技聚焦于具身智能的技术创新与行业应用,是专注于四足机器人、人形机器人及核心零部件的研发、生产、销售和服务的国家级高新技术企业。
云深处科技2025年动作不断
在资本运作层面,云深处科技除了完成两次融资,还在2025年10月31日完成股改,市场主体类型从“其他有限责任公司”变为“其他股份有限公司(非上市)”。

2025年以来,具身智能行业已有宇树科技、乐聚机器人等公司相继完成股改,随后启动IPO计划。
彼时,市场关注云深处是否在为之后IPO做准备。云深处科技相关负责人表示:“此次股改更多是因为公司发展需要,完成相应前期准备。”
在产业层面,云深处科技在2025年相继推出轮足复合的四足机器人山猫M20、行业级人形机器人DR02,并且建成具身智能中试基地。
比如,云深处科技在2025年10月推出全球首款行业级全天候人形机器人DR02,具备IP66防护等级,可在-20℃至55℃的宽温环境下稳定运行,打破人形机器人仅在受控环境中使用的局限。

图为云深处科技推出的行业级人形机器人
DR02
未来,云深处科技将深化“自主创新+产业协同”的双轮驱动战略,沿着两大核心路径同步推进,包括专注核心技术攻关与生产基地建设、与产业链合作伙伴共建产业生态。