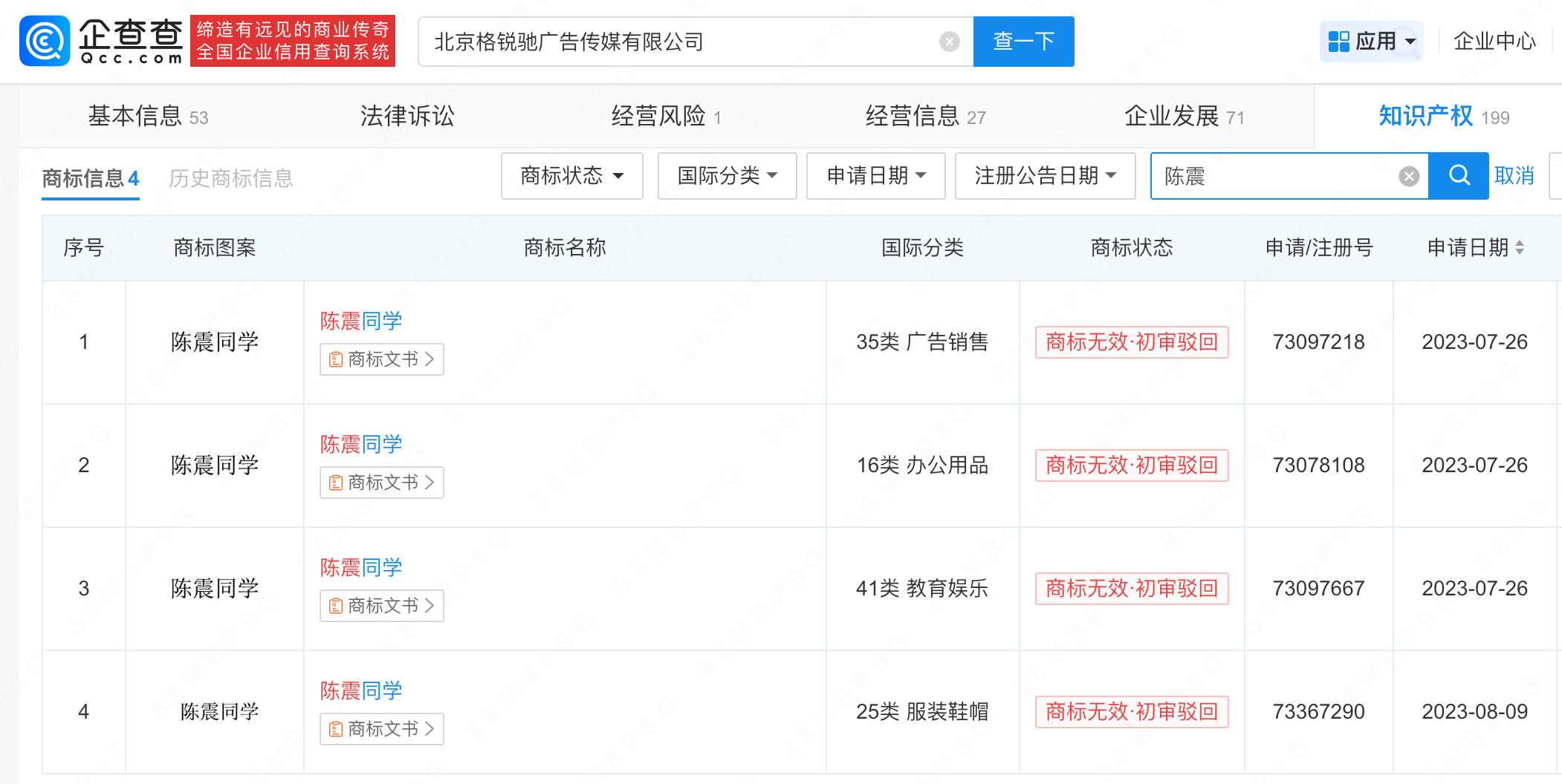
【陈震被全平台禁言,陈震同学商标均被驳回】陈震多平台账号被禁言陈震回应被多平台禁言 近日,车圈网红陈震多平台账号全部被禁言引发热议,其本人通过另一个账号发文回应称“没啥可说的,检讨自己…………”据企查查信息显示,陈震关联的MCN萝卜报告关联公司北京格锐驰广告传媒有限公司成立于2014年10月,注册资本500万,陈震持有54%股权并担任董事,当前该公司现存1则欠税公告,欠税余额2965.14元,欠税税种为印花税。值得一提的是,该公司曾申请多枚“陈震同学”商标,均被初审驳回被判无效。文书显示,经复审认为,申请商标中“陈震”与中华英烈网烈士英名录公布的烈士姓名相同,用作商标易产生不良社会影响。



