众力资讯网

全运会男子110米栏决赛:徐卓一13秒12夺冠

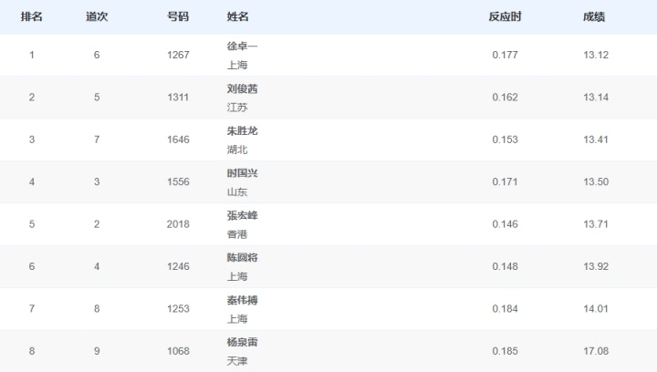
直播吧11月19日讯全运会男子110米栏决赛,徐卓一13秒12夺冠!

评论列表

guistarsjld
guistarsjld 5
2025-11-19 21:52
恭喜恭喜,争取奥运拿牌
咸咸咸粽喵
咸咸咸粽喵 4
2025-11-19 21:49
太牛了 中国第二人!
酒|小酒
酒|小酒 4
2025-11-19 22:01
中国田径要靠三付眼镜啦[捂脸哭][捂脸哭][捂脸哭]
阿西
阿西 3
2025-11-19 21:33
第二的成绩也很厉害,中国的跨栏又看到一点希望了
纯良痴汉
纯良痴汉 2
2025-11-19 21:23
山中无老虎,猴子称大王。
yang_hang_well
yang_hang_well 2
2025-11-19 21:43
成绩不错啊,提高一下起跑有望破 13 秒!
張太噢
張太噢 2
2025-11-19 21:59
这个成绩很不错了吧,以前刘翔世锦赛冠军好像也就13.07的样子?
高鼻梁的老贝
高鼻梁的老贝 2
2025-11-19 21:28
110米栏又出一批人才啦
孟?飞燕
孟?飞燕 2
2025-11-19 21:33
上海110米跨栏是不是9连贯了.这个项目绝对垄断
阿玘
阿玘 2
2025-11-19 22:00
世界纪录12.80啦?好久没关注了
hlj
hlj 2
2025-11-19 21:26
成绩非常好了,后刘翔时代,国内很长时间成绩都停留在13.3,13.4。
A_oddity
A_oddity 2
2025-11-19 21:29
太好了,110米栏后继有人!
滴哩哩哒哒
滴哩哩哒哒 2
2025-11-19 21:59
带着眼镜比赛?[捂脸哭]这四眼仔跑的那么快吗[捂脸哭]
欲北
欲北 2
2025-11-19 21:33
12秒88只是个梦啊
假装很积极
假装很积极 2
2025-11-19 21:26
上午还有评论骂他们成绩不行的呢在吴艳妮面前只有人家为国争光
lwowl洋葱
lwowl洋葱 2
2025-11-19 21:30
一个前程厉害,一个后程厉害,要是结合一下不敢想,妥妥开13秒大关。
受骗者李大娘
受骗者李大娘 2
2025-11-19 21:16
这成绩挺不错,国际比赛感觉进决赛也没问题
优尼
优尼 2
2025-11-19 21:42
100 200 110米栏冠军全是戴眼镜的。。。
清澈
清澈 2
2025-11-19 21:58
这天气跑出这成绩非常好啊!
子曰所谓
子曰所谓 2
2025-11-19 21:39
为啥国内这么猛 国际就萎了
芜生
芜生 2
2025-11-19 21:34
徐卓一压线总是感觉有点随意
欲吻暮色
欲吻暮色 2
2025-11-19 21:29
陈圆将可惜了,不然会更精彩!
神经质发作
神经质发作 1
2025-11-19 21:13
可以啊,卫冕了竟然!!
雨中
雨中 1
2025-11-19 22:01
这成绩除了刘翔,国内好像没人跑出来过,大史只有一次13.1大
Hide on bush
Hide on bush 1
2025-11-19 21:18
110栏得感谢上海,上海得感谢孙指导,二十年了,带教水平没差过
Little 羊
Little 羊 1
2025-11-19 21:54
这哥们跑起来有点刘翔的感觉,到底一个师傅教出来的
黄子芩呢
黄子芩呢 1
2025-11-19 21:05
这个成绩相当有竞争力
IPA终结者
IPA终结者 1
2025-11-19 21:14
12.88距离有多少?
恭州警花江婷婷
恭州警花江婷婷 1
2025-11-19 22:00
小伙子我们松江的骄傲
Won't
Won't 1
2025-11-19 21:27
未来可期 提高一下起跑就好了
黑白天使长
黑白天使长 1
2025-11-19 21:39
13秒12这成绩可以了
多鱼喵 ?
多鱼喵 ? 1
2025-11-19 21:51
这成绩很不错,只是稳定不住
塔罗牌占卜师
塔罗牌占卜师 1
2025-11-19 21:28
徐卓一很强啊,为什么都在吹陈圆将,不是很懂
赏味期限。
赏味期限。 1
2025-11-19 21:30
这个成绩很牛了,奥运会有机会进入前八名
lwowl洋葱
lwowl洋葱 1
2025-11-19 21:51
我们江苏小伙子可惜了,后程被超了。
WJ是个半仙_
WJ是个半仙_ 1
2025-11-19 21:35
女子跨栏3000评论,男子跨栏可能到不了300评论。
豌豆:Pea
豌豆:Pea 1
2025-11-19 21:19
刘翔之后,基本上都不看110米栏了。
许凉殃
许凉殃 1
2025-11-19 21:50
有一说一 放世界上看男子这几个比女子强很多 但是在国内人气差太多了 只能说田径迷里男的还是太多了[捂脸哭]
我是爽姐啊
我是爽姐啊 1
2025-11-19 21:59
成绩不错啊,徐卓一和刘俊茜这成绩已经超过史冬鹏了啊
郝好?
郝好? 1
2025-11-19 21:44
我发现跑得最快的那几个都是戴眼镜的[笑着哭]
林动动
林动动 1
2025-11-19 21:27
徐卓一如果能把前程拉起来奥运会有机会拿牌
伪装掩卟住眼底
伪装掩卟住眼底 1
2025-11-19 21:05
这个项目跑进13秒太难了,都这样了还差0.12
静听花开
静听花开 1
2025-11-19 21:53
江苏这哥们身高吃大亏啊