
牵一发而动全身。
“单丝不成线,独木不成林。”
刘邦有萧何、张良等一众贤臣,汉武帝有卫青、霍去病等名将,唐太宗有凌渊阁二十四功臣……凡成大事者,无不需要一支强大的团队。
在今天这个残酷的商业世界里,亦是如此。
身处舆论漩涡中心的宗馥莉,正经历着核心团队不断调整的动荡时期,其未来走向也多了几分不确定性。

宗馥莉团队重大调整
前段时间,宗馥莉“心腹”祝丽丹离职,连办公室都已经搬空的消息闹得沸沸扬扬。如今看来,这个职位变动恐怕是真的了。
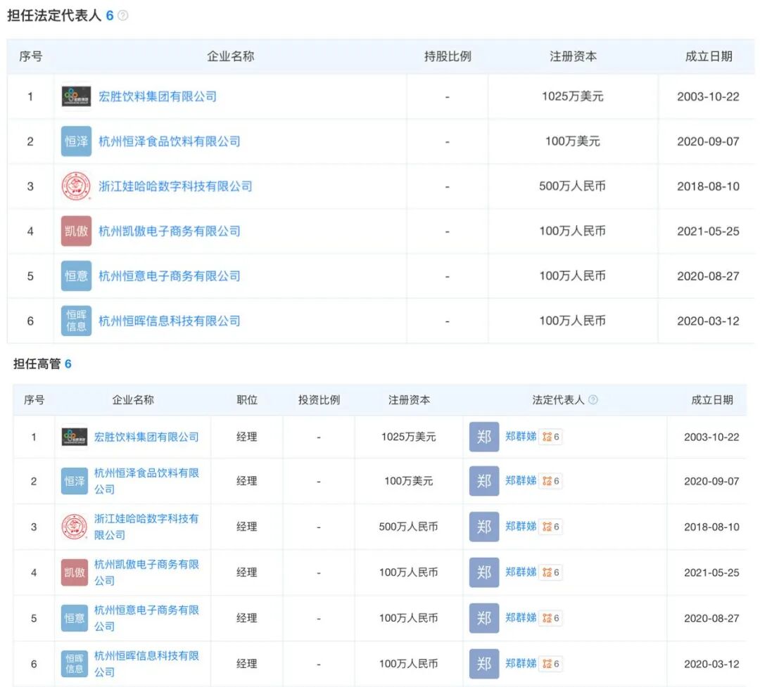
近日,据天眼查显示,宏胜饮料集团有限公司法定代表人发生变更,由祝丽丹变更为郑群娣。

而祝丽丹的名字则被转移至历史主要人员名单之列。

祝丽丹退下,郑群娣上,宗馥莉的核心团队完成了一次重大调整。
值得一提的是,在此之前,祝丽丹和郑群娣都是宗馥莉的手下大将,承担着重要的角色。
先来说说祝丽丹。
今年6月的时候,宗馥莉和祝丽丹一起参加了宏胜集团第二届职工代表大会,彼时,宗馥莉身穿一件糖果色系条纹碰撞色彩长裙,听着员工们交流各自的工作体会,坐在她旁边的那位就是祝丽丹。

据了解,祝丽丹曾辅佐宗馥莉经营宏胜集团,于2022年11月接替宗馥莉成为宏胜集团董事长及法定代表人。天眼查APP显示,祝丽丹曾在158家公司担任法定代表人,多家企业名称中有“娃哈哈”或“宏胜”字样,重要性不言而喻。
随着她的离职,这些任职可能会陆续变更。
据媒体消息,有知情人士表示,在很长一段时间里,娃哈哈集团召开中层干部会议,宏胜都是派祝丽丹参会,而宗馥莉则不参会。祝丽丹曾与宗馥莉关系不太和谐,宗庆后将其调到乔司基地任副总经理,乔司基地总经理退休后祝丽丹接手总经理一职,后因业绩不佳被宗庆后免职,又回到了宏胜。
与此同时,该人士透露,“祝丽丹不愿意当法人了,宗馥莉就让她走了。”
其实,祝丽丹的离职也早有迹可循。
在宗馥莉陷入麻烦的同时,她本人也卷入了风波。
10月11日,有消息称,祝丽丹已经被带走调查。当天晚上,对于“被带走”的传闻,祝丽丹回应表示:“就不要轻信谣言了吧。”
10月13日,宏胜饮料公司内部系统还显示,祝丽丹职位是“管理中心总监兼人力资源部部长”。不久,祝丽丹岗位就显示为“待定”。当时就有市场消息称祝丽丹已经申请离职。
如今看来,已经是尘埃落定。
再来看看郑群娣,她也是宗馥莉的手下干将。
据了解,郑群娣曾担任KELLYONE的总经理。去年,她曾被任命为娃哈哈公关部副部长,后来公关部撤并后,她又变为营销中心的办公室主任。KELLYONE是宗馥莉主导的品牌,KELLY即为宗馥莉英文名。
天眼查信息显示,郑群娣共在6家娃哈哈相关公司担任法定代表人,包括宏胜饮料集团和杭州恒泽食品饮料有限公司、杭州恒意电子商务有限公司等4家宏胜系公司,以及浙江娃哈哈数字科技有限公司法定代表人,该公司股权穿透后,实控人为宗馥莉。

据媒体消息,一名娃哈哈内部老员工表示:“郑群娣最早在娃哈哈童装公司做跟单员(类似内勤等基础岗位),而宗馥莉曾在服装公司担任过总经理,郑群娣在童装公司倒闭后就去了公关部工作。”
值得一提的是,在宗馥莉与杜建英的交锋中,也有郑群娣的身影。
今年8月,“天猫娃哈哈旗舰店改名”一事引发关注。
彼时,有网友发帖称,自己点开此前在天猫娃哈哈旗舰店的订单时,发现店铺名称已变更为“同源康食品专营店”,由此引发“天猫娃哈哈旗舰店账号是否被出售”的质疑。
原天猫娃哈哈旗舰店的名称已经变更为同源康食品专营店,注册企业名称为同源康电子商务(杭州)有限公司。天眼查APP显示,该公司由三捷投资集团有限公司控股75%,而三捷投资集团有限公司则由杜建英持股99.8%。
也就是说,这个店铺是杜建英的持股公司。
而目前娃哈哈天猫店铺“娃哈哈旗舰店”的运营方已经变为“杭州恒意电子商务有限公司”,法定代表人和经理均为郑群娣。股权穿透可以发现,其实际控股股东为宏胜集团,实控人为宗馥莉。
表面上看,店铺更名是商业操作,实质上却是娃哈哈在天猫渠道的重新布局,背后有公司利益的重新分配,也有新老团队的权力交接。在宗馥莉的布局中,郑群娣也在发挥着自己的作用。
除了祝丽丹、郑群娣,宗馥莉的另一大“心腹”——严学峰也备受市场关注。
他此前被传出被杭州市上城区纪律检查委员会立案审查,后在10月5日被解除立案审查。
在10月14日,严学峰曾提出辞职,通讯录岗位状态变更为“待定”,但到了10月24日,他官复原职,重新担任宏胜饮料集团的生产中心总监兼讯尔公司总经理。天眼查的工商资料还显示,严学峰还在娃哈哈有关联的189家公司中担任监事。
人事变动往往是多种因素交织的结果。
随着公司业务的发展和市场的变化,掌舵人需要对团队进行重新整合和优化,以适应新的发展需求。等风波停歇,宗馥莉将如何带队破局突围,让我们拭目以待。

宗馥莉“回归”,准备大干一场
如今,宗馥莉的核心团队正处于关键调整期,她本人也身处变动之中。
宗馥莉本人于9月12日向娃哈哈集团有限公司辞去公司法人代表、董事及董事长等相关职务。10月23日,宗馥莉以宏胜饮料集团总裁的身份回到娃哈哈上班。
外界纷纷扰扰,宗馥莉一直处在风口浪尖上,但她似乎并没有受到太多影响。
今年8月,在一次访谈中,宗馥莉被问,“接班这一年,不止一次身处风暴中心,如何在各类风波之下经营企业和家庭?”“定海神针是什么?”
宗馥莉表示:我的“定海神针”就是坚持做自己。以前我是怎样的,现在还是怎样,我不会因为风波改变方向。
“无论外界如何喧嚣,企业要走远靠的是脚踏实地,而不是情绪起伏,对我来说唯一的方式就是稳扎稳打,不被外界的声音左右。这可能听起来很朴素,但恰恰是最实用的。”
这次辞职后,宗馥莉也很快投入了工作。
宗馥莉回到娃哈哈上班后,同一天,宏胜下发通知,表示2026年将继续使用“娃哈哈”的品牌商标。
之前网传文件中写道,如果娃哈哈集团全体股东没有达成一致,那么任何一方都无权使用“娃哈哈”商标。如今,宏胜能够合法顺利地使用“娃哈哈”商标了。这意味着,宗馥莉与娃哈哈集团达成了某种妥协或共识。
10月29日,宏胜集团片区工作会议在杭州举行,宗馥莉作为宏胜集团的总裁出席会议并作工作部署。照片中,宗馥莉身着一袭亮眼的黄色西装,神情专注而认真,看上去状态相当不错。

据了解,会议系统梳理了2025年集团在生产经营、技术创新、安全管理等方面取得的新进展新成效,分析当前发展形势,统筹谋划下一阶段重点任务。
对于宏胜和娃哈哈的关系,宗馥莉的定调是:把宏胜和娃哈哈对立起来看,是一种误解。娃哈哈和宏胜,本身就是同一个产业生态里的两个重要支点。两者并不是此消彼长的关系,而是互为补充、互相赋能。
“宏胜的角色,是帮助我们把全链条打通,从研发、生产到渠道和品牌形成更高效的系统能力。”
如此看来,“回归”的宗馥莉正在有条不紊按照自己的节奏继续布局。
当然了,在这些变动背后,关于娃哈哈的未来走向、权力格局以及品牌战略仍存在诸多不确定性。