一场口水战,将格力、小米两大巨头卷入到一场风波之中。

最近,董明珠在《珍知酌见》栏目中再次回应了她与雷军的“10亿赌约”,并提到了小米专利侵权赔偿的话题。话题一出,瞬间引爆网络,相关话题登上热搜第一。
小米公关部总经理第一时间在社交媒体表示:“经过再次核查,信息不实。”小米一向以“公关之狼”著称。在这次舆论战中,小米与部分媒体带向风、博眼球,让不明真相的大众误以为是格力是过错方。随着人们的关注点逐渐失焦,竟演变成为对格力的集体讨伐。
穿过迷雾看真相,透过现象看本质。从各路媒体的报道之中,我们试图客观理性地分析各个争议点,多一个视角看待格力、小米之争。
小米专利侵权的真相
在小米业务版图中,小米生态链具有举足轻重的地位,小米创始人雷军在很多场合言必称“小米生态链”。经过多年的扩张,小米像八爪鱼一般四处出击,业务触角延伸至手机、汽车、家电等多个领域。造梦者(浙江)科技有限公司便是小米生态链企业之一。
2017年9月21日,造梦者与小米召开新闻发布会,正式宣布造梦者与小米、顺为、三行资本达成投资合伙协议。2018年,造梦者正式进入小米生态链。据天眼查的公开信息显示,小米科技全资持股的天津金星创投投资有限公司持有造梦者8.04%股份。


前小米生态链总经理屈恒曾表示,直流电风扇是小米第一个从工厂端布局的品类。谁知首次布局,就侵犯了格力的专利权。
2021年7月12日,格力电器的委托代理人在公证员的监督下,进入京东商城小米官方旗舰店,发现所售米家小米热销产品“米家直流变频塔扇”BPTS01DM电风扇专利侵权。打了两年官司后,2022年12月22日,广州知识产权法院做出一审判决【(2021)粤73知民初1399号】,判决其行为已经构成侵权,并赔偿格力电器经济损失和维权费用。
2024年6月18日,最高人民法院出具【(2023)最高法知民终1123号】法律文书,该文书要求本案涉及侵权的米家小米电风扇不得再制造和销售,侵权人向格力电器支付人民币185万元。
7月9日,格力文传在微博上就此发布声明,“正告各侵权主体,立即停止生产、销售侵权产品,否则我司将采取法律措施坚决维护公司合法权益”。
小米通过小米发言人账号发布信息:“经查,我司未收到任何环境电器相关诉讼。”小米发言人账号的回应,刻意隐瞒了“造梦者为小米生态链”、“侵权电风扇为米家品牌”的重要事实,试图混淆小米与米家、小米供应链之间的关系。
在《大话西游·大圣娶亲》中铁扇公主向至尊宝控诉:“以前叫人家小甜甜”、“现在却叫人家牛夫人。”小米急于撇清与造梦者的关系,显然扮演了至尊宝的角色。
无论产业界,还是消费者,人们早就将小米、米家、小米供应链三者紧密联系在一起了。消费者购买小米、米家标志的产品,是基于对小米公司的信任,但当小米生态链企业生产出来的米家产品对格力侵权时,必然会破坏消费者的信任关系,最终反噬小米品牌。
董明珠在《珍知酌见》栏目中提及的“专利侵权赔偿”话题,其实是米家电风扇侵权格力风波的延续。和上次一样,小米公关部总经理矢口否认专利侵权事实,依然遮遮掩掩、刻意模糊焦点,回避重要事实。
小米公关总经理的回应是“小米空调没有侵权”、“小米没有因为专利侵权赔偿50万的情况”,而事实是“小米生态链企业、米家小米电风扇专利侵权”、“米家小米电风扇专利侵权赔偿格力185万”。
小米公关总经理似是而非的回应,看似聪明、实则滑头,随着事实浮出水面,人们终究会在心里做出公正的评判。
如果小米打心眼尊重知识产权,就应该向公众承诺,并拿出态度来加强对生态链企业的监管,确保符合法律法规的要求,以此树立“重视知识产权”的形象。然而遗憾的是,无论是小米集团创始人雷军还是总裁卢伟冰,对此只字未提。
有业内人士认为,小米通过小米生态链、米家进军家电市场,携品牌势能能做出一定的成绩,但从长期来看,此举蕴藏着巨大的风险。家电行业极为成熟,专利十分细致、密集,小米既没有深厚的技术积淀,也没有自己的空调工厂,踩红线、触法律是大概率事件。小米米家电风扇侵权格力,就是例证。
小米专利侵权的本质
除了上述专利侵权外,2023年以来,小米空调还对格力空调发起了一系列“恶意竞争”。
据第一财经消息,从2023年年底到2024年上半年,小米空调业务吸纳约十多名原格力技术人员,有的人为了避开竞业协议还改了名字。小米公关总经理的回应是,“家电行业很传统,没有竞业协议,也没有竞业补偿金,一般都只有保密协议。”言外之意,即便有保密协议,小米可以毫无顾忌挖格力的墙角,甚至不惜降低道德底线。
在业界,小米是“微创新”高手,而且喜欢“致敬对手”。说起这两个词,业界人士往往会心一笑。这些看起来冠冕堂皇的大帽子,背后的潜台词是:爱抄袭模仿。
早在2011年,魅族创始人黄章在论坛发表过著名的“天使投资人”言论,直言雷军曾窃取魅族商业机密。黄章痛斥雷军以天使投资人的身份套取商业机密,从整体理念、开发流程到供应商选择、生产和销售、公司状况、核心人员及财务报表摸了个透,而且把魅族的交互文档、手机相关资料也都拿走了。让黄章感到“恶心”的是,当时雷军在魅族呆了一个月,却隐瞒了做小米手机UI的重要事实。
2019年小米9发布会后,黄章忽然在一条“小米9为何定价如此雷人”的帖子底下评论:“想冲高端但眼高手低,贱惯了高不起来,贱人贱己贱行业。”

盘点小米的成长史,我们会发现小米习惯性“致敬”对手,有时甚至到了像素级的地步。小米路由器mini致敬苹果Magic Trackpad触摸板;小米2致敬魅族MX1;小米Redmi Note 11广告词抄袭锤子手机;小米空气净化器致敬巴慕达;小米汽车SU7致敬保时捷;种种“致敬”,举不胜举。除了黄章外,还包括锤子手机创始人罗永浩、华为终端CEO余承东、保时捷中国总裁及首席执行官柯时迈等企业家以各种方式指责小米“抄袭"。
小米“致敬”同行、“微创新”的目的是降价竞争、收割用户。从短期看,貌似取悦用户;从长远看,这不仅不利于品牌走向自主创新、迈向价值链高端,而且加剧了行业的恶性竞争,对未来行业的健康发展产生不良的影响。
创新大师克莱顿·克里斯坦森在《创新者的窘境》中分析,曾经的行业巨头一夜之间倒下,一个非常重要的原因在于对先进技术的忽视。
多年来,小米生态链企业四处出击,虽然取得了一定的成绩,但无论在技术积淀上,还是在制造能力上,距离全球一流企业相距甚远。某种程度上,小米生态链是二流企业的集合体。尽管部分产品外观酷炫、价格低廉,但在核心技术上存在明显的短板,使其很难突破规模与效益的瓶颈,成为世界一流企业。
在手机领域,小米与华为的差距明显。2023年,华为的研发费用占总营收比例高达23.4%,小米仅为6.7%。尽管雷军一直强调“重视研发”,事实上,小米在研发上的投入相当谨慎,常年没有超过4%,远不及其在广告、宣传上的投入。小米手机迟迟难以走向高端,最根本的原因在于缺少核心技术。
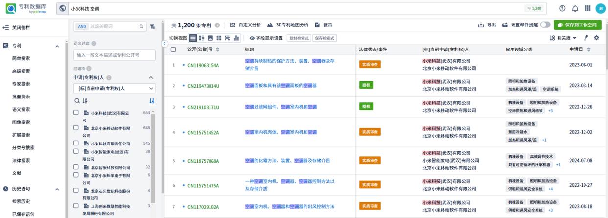
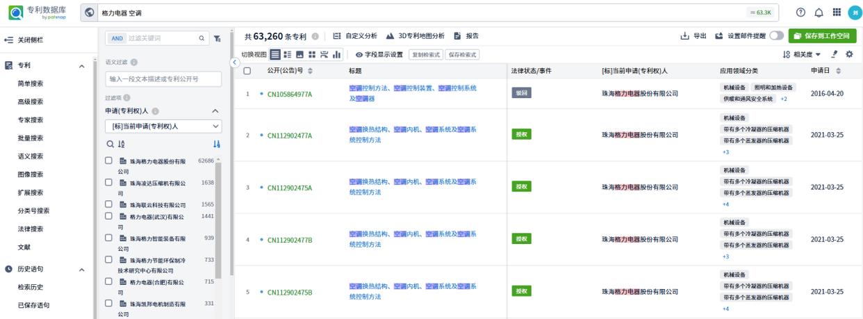
在空调领域,小米更是无法与格力相抗衡。2024年12月22日,在智慧芽专利平台上,如果用“小米科技+空调”进行模糊搜索,相关专利信息仅为1200条;如果用“格力电器+空调”进行模糊搜索,相关专利信息高达为63260条。单纯从专利信息数量上看,格力申请的专利是小米的五十多倍。
格力电器官网的信息显示,其累计申请专利的数量比智慧芽的专利信息数量更高。截止2023年12月,格力电器累计申请专利超过12万件,数量堪称惊人。


本质上,小米是一家营销驱动的公司,而非研发驱动的企业。虽然雷军在口头上重视研发,但实际上并非如此。雷军多次为“研发投入占比低”进行辩解。
雷军曾在微博上这样写道:“小米只有十年历史,大家可以查一下友商在十周年时候的研发投入。”此言剑指华为。事后有媒体查询,1998年,华为成立十周年,华为销售额为89亿,研发费用20亿元,占比高达22.5%;2020年,小米创办十周年,其研发付费用仅占全年营收的3.78%。
这番言论被网友吐槽后,雷军很快删除该微博,但仍强词夺理:“这对只有十年历史的小米,是个巨大数字。小米敢冲击高端市场,和巨额研发投入密不可分。”他甚至说研发投入只是一方面,“研发费用的本质不是越多越好,几乎所有重大创新都是小公司干的。”
这些言论充满了矛盾:一方面强调“技术为本”,另一方面说“研发投入只是一方面”;一方面说“小米投入巨大”,另一方面却认为“研发费用不是越多越好”。其观点南辕北辙,很多人直呼看不懂。难怪有网友怀疑,雷军是在以这种方式“骗米粉”。
从以上种种可以看出,小米在研发上并不是一个大方的人。手机是一个极其讲究创新的行业,小米在主营业务上的研发投入都如此谨慎,不难想象,小米在空调上的投入会是什么样子。
在研发上吝啬,在设计上“致敬”,小米选择了一条投机取巧的发展之路。在手机上,小米“致敬”苹果,不仅在产品“致敬”,连发布会也全盘“致敬”,更夸张的是,雷军在发布会上的穿着,也全面“致敬”苹果创始人乔布斯,“雷布斯”也由此得名。在汽车上,小米则“致敬”保时捷,小米发布的第一款车型小米SU7因此被人戏称为“米时捷”。
说到“米时捷”,不免让人联想到众泰汽车的“皮尺部”。当年,众泰汽车四处抄袭多个成熟汽车的外形,其中包括保时捷设计风格的车型,众泰汽车“皮尺部”由此而得名。当年,众泰汽车靠“皮尺部”出尽风头,到如今早已烟消云散。可见,没有自己的核心竞争力,仅靠抄袭与模仿,不仅会被业界所耻笑,而且最终会被用户所抛弃。前车之鉴,后世之师,衷心希望小米不要再走众泰汽车这条不归路。
价值观之争
近年来,很多企业家喜欢把“长期主义”挂在嘴边,但当主业遇到暂时的困难,或者看到其他行业蓬勃发展时,习惯性地将这句话抛在脑后。在当下的宏观环境下,追求第二增长曲线固然重要,但企业家需要理性思考,跨入新的领域之后,如何赢得长期的竞争优势?
空调行业是中国家电业竞争最激烈的细分领域之一。数十年来,许多曾经野心勃勃、一心冲顶的空调品牌,一轮又一轮倒下。
曾经的销量冠军春兰空调,在盲目扩张中蒙眼狂奔,在根基不稳的情况下,涉足机械、新能源、房地产等多个领域,盲目的多元化让春兰空调错失良机,被格力所赶超,一蹶不振。如今的春兰空调彻底被边缘化,销售额连格力的零头都不到。
志高空调一度跻身行业前三,年营收破百亿,然而志高空调创始人李兴浩并不满足现状,高调进军建筑行业等领域,忽视空调行业需要持续研发投入的现实,最终因为产品质量事故而被消费者抛弃,曾经的空调霸主就此陨落。更让人唏嘘的是,曾经叱咤风云的李兴浩因为挪用公款而身陷囹圄。
为什么春兰、志高倒下了,格力还站着?根本原因在于研发。
空调行业是一个科技含量极高的行业。当同行眼红其他行业的暴利时,格力心无旁骛地做研发。仅2021年至2023年间,格力空调研发总头高达390亿元,其中2023年研发投入超过140亿元,而且研发投入还在持续增长。如今,格力研发人员人数突破1.7万名,研发人员占总员工人数的额比例突破21%。放眼中国,像格力这样如此重视研发的企业,恐怕只有华为一家了。
很多企业家想当然地认为,空调是一个产业链极为成熟的行业,只要品牌势能强大,就能找到一批ODM代工企业为我所用。这一观点其实大错特错。空调行业的核心竞争力不是生产,而是技术,如果轻视技术的重要性,将会把企业带入万劫不复的境地。
中国的空调行业是在一次次血腥的价格战中成长起来的。那些曾经试图用价格战建立霸主地位的空调品牌,绝大部分都已出局,剩下的仍在低毛利的困境中苦苦挣扎。
四川长虹是中国家电业价格战的始作俑者。上个世纪末,四川长虹靠价格战确定了霸主地位,风头一时无两。然而,成也萧何、败也萧何,杀敌一千、自损八百的四川长虹在经历50亿元商业欺诈、押注等离子彩电失败之后,元气大伤。此后二十年里,长虹一直在低价格、低毛利的漩涡里挣扎,未能彻底摆脱“价格战”的魔咒,昔日不可一世的王者,甚至沦为了小米空调的代工厂。
格力之所以在一次又一次的价格战中屹立不倒、越战越强,靠的就是技术实力。在价格战打得最猛烈的时候,很多人看衰格力,认为消费者会贪便宜而抛弃格力,事实证明,消费者的眼睛是雪亮的。空调作为家庭耐用消费品,消费者使用的时间少则几年,多则数十年。价格便宜固然是考虑的重要因素,但品质才是他们决定购买的关键因素,谁也不想空调在使用过程中状况百出。
今年以来,小米空调在市场上取得了一些成绩,意想不到的是它竟宣称自己“行业第一”。卢伟冰发微博声称,“根据第三方统计数据,1-11月小米空调销量同比增长53%。”他将这一成绩归功于小米空调的低毛利率策略,“小米空调的利润率仅为10%左右,远低于传统家电行业普遍存在的30%至40%的利润空间;一些传统家电品牌利用高利润驱动,将价格高昂的产品推向市场,损害了消费者的利益。”卢伟冰话里话外直指格力。
按照卢伟冰的逻辑,恨不得企业不赚钱、将利润全部让给消费者,才算合理。企业的目的是为了盈利,如果企业不盈利,研发投入、发展资金从何而来?尤其是当科技迈入无人区,企业需要大量的前置性研发投入时。在相当长的时间里,这些研发投入,都见不到成效。如果没有充足的资金做保证,如何跨越科技的无人区、突破国外技术封锁?
依照卢伟冰的说法,世界上不应该存在高端品牌这样的事物,它们的存在都是在损害消费者的利益,苹果、华为、茅台、LV都不应该在这个世界存在。屁股决定脑袋。卢伟冰说出违背常识的这番话,显然是为了骗取米粉的信任。
多年来,雷军一直信誓旦旦地表示,小米的利润率不超过5%,在香港上市时更是拍胸脯承诺。但2023年的财报数据显示,小米的利润高达7.11%。被现实打脸后,雷军不再提及利润率5%的话题,反倒是经常提到小米品牌的高端化。看来,雷军正在变成了卢伟冰“不屑”的那种人。
雷军与卢伟冰的种种言论,将人们的记忆拉回到十多年空调价格战的风云岁月。彼时,一些空调品牌打着“消费正义”的旗号,实际上行价格战之实,随着时间的推移,这些品牌逐利的本性逐渐暴露。为了生存下去,这些品牌不得不偷工减料、以次充好、乱标能耗、虚假承诺,既透支了消费者的信任,也将自己逼入绝境。
不可否认,小米是一家很懂营销的公司,但当企业发展到一定阶段,仅靠营销是不够的。营销能让企业走完上半场,而要走完下半场,则要靠技术。这是中国空调行业发展数十年总结出来的历史规律,许多品牌违背这一规律付出了极其惨重的代价。可惜的是,直到今天,仍然有人重走老路,妄图用价格战来血洗整个行业。
卢伟冰说,“传统家电企业将价格高昂的产品推向市场,损害了消费者的利益。”这句话不仅违背常识,而且不讲武德。
中国有十几亿消费者,消费需求千变万化,消费偏好千差万别。有的消费者不论质量好坏就喜欢贪图便宜,有的消费者就愿意为高品质产品支付高溢价。不能因为部分米粉注重性价比,就否定那些追求质价比的高端消费者;不能因为自己的产品太低端、没有什么技术含量,就攻击那些注重研发、生产高品质产品的企业,说它们在损害消费者利益。
正如我国领导人所说,世界如此之大,容得下中美两国。空调行业如此之大,同样容得下格力与小米。每个企业都有自己的定位和发展方向:有的定位高端,有的定位低端;有的以技术见长,有的以营销见长。凭什么认为,别人历经千辛万苦、千难万险蹚出来的成功之路是错误的,而你的是正确的?
卢伟冰口口声声说小米空调的利润仅为10%,其实早已违背了当初许下的“利润率不超过5%”的诺言。卢伟冰试图以消费者的名义,裹挟媒体,强行占领道德高地。当有一天小米空调不再满足10%的利润时,也许雷军、卢伟冰会再次忘记初衷,再次成为那个被自己鄙视的人。打脸多了,就会忘记脸在哪里。
抛开口水战不谈,回归到理性看格力与小米之争,实际上是质价比与性价比两条路线之争,是价值观之争,谁都没有对错。遗憾的是,小米高层骨子里认为众人皆错、唯我独对;自己走的是天道,别人走的邪道;如有异见,假消费者之旗号、裹挟媒体,群起而攻之。
凯撒的归凯撒,上帝的归上帝。商业竞争是一场马拉松,谁能在空调行业走得长远,时间会给出答案。
本文原载于《无冕财经》,略有增删