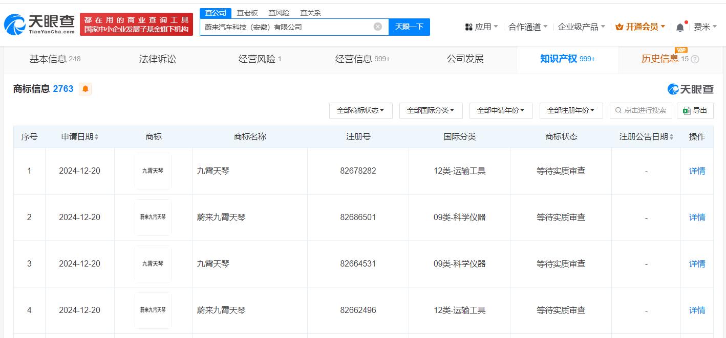
天眼查知识产权信息显示,近日,蔚来汽车科技(安徽)有限公司申请注册各两枚“九霄天琴”“蔚来九霄天琴”商标,国际分类均为科学仪器、运输工具,当前商标状态均为等待实质审查。
此前据媒体报道,蔚来 ET9“科技行政旗舰”车型正式发布,该车首发了“九霄天琴 8.2.4.8 音响系统”。据悉,蔚来ET9全车共有35个扬声器,最高功率可达2800W。


天眼查知识产权信息显示,近日,蔚来汽车科技(安徽)有限公司申请注册各两枚“九霄天琴”“蔚来九霄天琴”商标,国际分类均为科学仪器、运输工具,当前商标状态均为等待实质审查。
此前据媒体报道,蔚来 ET9“科技行政旗舰”车型正式发布,该车首发了“九霄天琴 8.2.4.8 音响系统”。据悉,蔚来ET9全车共有35个扬声器,最高功率可达2800W。

