#小米汽车#
据媒体报道,雷军正式发布新一代小米SU7,标准版定价21.99万元起,相关话题引发关注。
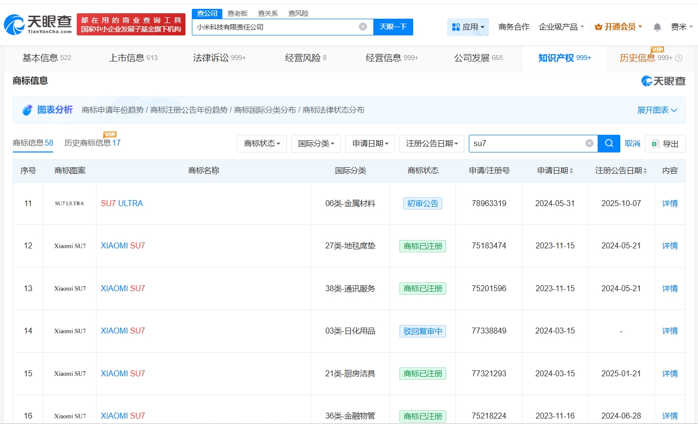
天眼查知识产权信息显示,小米科技有限责任公司已成功注册多枚“XIAOMI SU7”商标,国际分类包括地毯席垫、通讯服务、厨房洁具等。此外,小米汽车科技有限公司已登记“Xiaomi SU7/ SU7 Ultra/ YU7视觉设计图”、“Xiaomi SU7、Xiaomi SU7 Ultra 冰箱贴设计”等作品著作权。




#小米汽车#
据媒体报道,雷军正式发布新一代小米SU7,标准版定价21.99万元起,相关话题引发关注。
天眼查知识产权信息显示,小米科技有限责任公司已成功注册多枚“XIAOMI SU7”商标,国际分类包括地毯席垫、通讯服务、厨房洁具等。此外,小米汽车科技有限公司已登记“Xiaomi SU7/ SU7 Ultra/ YU7视觉设计图”、“Xiaomi SU7、Xiaomi SU7 Ultra 冰箱贴设计”等作品著作权。



